Aucun produit
15465
Neuf

La chandelle à goupille 12 tonnes est un équipement de sécurité professionnel, indispensable pour toute intervention sur des véhicules lourds. Elle est conçue pour offrir un maintien stable et sécurisé une fois le véhicule levé, qu’il s’agisse de camions, utilitaires, camping-cars, remorques poids lourds ou même d’équipements industriels.
Grâce à sa structure en acier robuste, son poids de 15,2 kg et son système de réglage par goupille, elle assure une grande stabilité en usage intensif. Son utilisation est recommandée en atelier, sur chantier ou pour la maintenance de flotte.
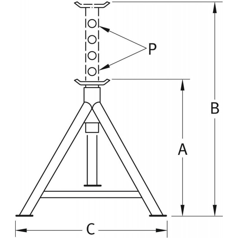
Après avoir levé le véhicule avec un cric adapté, cette chandelle se positionne sous les points d’appui recommandés par le constructeur. Le tube coulissant permet d’ajuster la hauteur avec précision, tandis que la goupille assure un verrouillage sécurisé.
Utilisation typique :
Desserrer une roue
Lever le véhicule
Placer la chandelle
Vérifier la stabilité
Intervenir en toute sécurité
Elle peut également servir de soutien à une remorque lors du décrochage.
Capacité de charge : 12 tonnes
Hauteur mini : 500 mm
Hauteur maxi : 770 mm
Structure : Acier renforcé
Réglage : par tube coulissant et goupille
Poids unitaire : 15,2 kg
Toujours utiliser sur un sol plat et stable
Ne jamais dépasser la charge maximale
Ne jamais utiliser comme outil de levage, mais en complément d’un cric
Pour des charges supérieures :
Chandelle à vis basse 20T (réf. 15235)
Chandelle à vis haute 20T (réf. 15236)
Également disponible en version 16 tonnes (réf. 15220)
3 ans – DRAKKAR ÉQUIPEMENT
Aucun avis n'a été publié pour le moment.